| 适用范围 |
JR28系列热过载继电器用于交流50Hz,额定绝缘电压660V,电流0.1A ~ 93A的电路中,主要用于三相交流电动机的过载和断相保护。并可与适应的交流接触器组成起动器。
产品符合和等标准。
|
|
| 型号及其含义 |
|
| 正常工作条件及安装条件 |
1、海拔不C过2000m;
2、周围空气温度上限值不C过+40℃,下限值不低于-5℃;
3、安装地点的空气相对湿度在Z高温度为+40℃时不C过50%,在较低温度下可以有较高的相对湿度,Z湿月的月平均Z低温度不C过+20℃,该月的月平均Z大相对湿度不C过90%。由于温度变化发生在产品上的凝露情况必须采取措施;
4、与垂直的安装倾斜不C过±5°;
5、污染等级:3级;
6、在无显著摇动、冲击和振动的地方。 |
|
|
| 结构特征 |
| 热继电器造型新颖、美观,具有过载与断相保护,温度补偿,整定电流可调、自动和手动复位任意选择,动作指示信号等功能。产品常闭、常开辅助触头绝缘分开,安装面积小,安装方式多样并具有测试按钮和停止按钮。可进行动作灵活性检查,有防止手指触电护罩,使用安全。 |
| 主要技术参数 |
|
|
 ` |
|
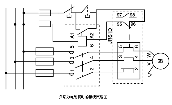
| 接线原理图 |
|
| 外形及安装尺寸 |
|
| 订货须知 |
| 订货时应注明热继电器的型号、名称、额定电流、热元件整定电流范围、安装方式及订货数量。例如:JR28-25/Z型整定电流为7A-10A的热继电器20台。 |
|