| |
|
| YWZ系列电力液压块式制动器 |
|
概述
YWZ系列液压制动器是一种由电力液压推动器操动的常闭闸瓦式制动器。它被广泛应用于起重运输、冶金矿山和其他机械设备,使机构得以平稳制动的机械制动装置。
型号及其含义

主要技术参数
| |
液压推动器 |
| 制动器型号 |
制动轮
直径
(mm) |
制动
力矩
(N·m) |
制动瓦
退矩
(mm) |
型号 |
额定
推力
(N) |
额定
行程
(mm) |
电机
功率
(W) |
重量
(kg) |
总量
(kg) |
| YWZ-100/18 |
100 |
40 |
0.6 |
MYT1-18Z/2 |
180 |
25 |
60 |
9.8 |
25 |
| YWZ-150/25 |
150 |
63 |
0.6 |
MYT1-25Z/4 |
250 |
40 |
60 |
21 |
33 |
| YWZ-200/25 |
200 |
112 |
0.7 |
MYT1-25ZB/4 |
250 |
40 |
60 |
21 |
42 |
| YWZ-300/25 |
300 |
355 |
0.7 |
MYT1-25ZC/4 |
250 |
40 |
60 |
21 |
73 |
| YWZ-300/45 |
300 |
450 |
0.7 |
MYT1-45Z/6 |
450 |
50 |
120 |
25 |
80 |
| YWZ-400/45 |
400 |
560 |
0.8 |
MYT1-45Z/6 |
450 |
50 |
120 |
25 |
130 |
| YWZ-400/90 |
400 |
710 |
0.8 |
MYT1-90Z/8 |
900 |
80 |
250 |
45 |
160 |
| YWZ-500/90 |
500 |
900 |
0.8 |
MYT1-90Z/8 |
900 |
80 |
250 |
45 |
220 |
| YWZ-600/90 |
600 |
1400 |
0.8 |
MYT1-90Z/8 |
900 |
80 |
250 |
45 |
400 |
| YWZ-600/180 |
600 |
2240 |
0.8 |
MYT1-180Z/12 |
1800 |
120 |
400 |
75 |
430 |
| YWZ-700/180 |
700 |
2800 |
0.8 |
MYT1-180Z/12 |
1800 |
120 |
400 |
75 |
500 |
| YWZ-800/180 |
800 |
4000 |
0.8 |
MYT1-180Z/12 |
1800 |
120 |
400 |
75 |
720 |
| YWZ-800/320 |
800 |
5000 |
0.9 |
MYT1-320Z/12 |
3200 |
120 |
1100 |
150 |
1100 |
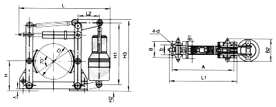
外形及安装尺寸

| 制动器型号 |
尺寸(毫米) |
| D |
H |
A |
b |
d |
|
L |
L1 |
B |
B1 |
B2 |
L2 |
H1 |
H2 |
H3 |
| YWZ-100/18 |
100 |
100 |
225 |
40 |
13 |
6 |
372 |
250 |
75 |
70 |
158 |
95 |
282 |
18 |
335 |
| YWZ-150/25 |
150 |
140 |
300 |
60 |
17 |
8 |
460 |
340 |
100 |
90 |
181 |
115 |
320 |
30 |
382 |
| YWZ-200/25 |
200 |
170 |
360 |
60 |
17 |
8 |
555 |
390 |
100 |
90 |
126 |
130 |
380 |
22 |
440 |
| YWZ-300/25 |
300 |
240 |
520 |
80 |
22 |
10 |
725 |
550 |
130 |
140 |
160 |
170 |
400 |
17 |
586 |
| YWZ-300/45 |
300 |
240 |
520 |
80 |
22 |
10 |
740 |
550 |
130 |
140 |
160 |
170 |
490 |
60 |
592 |
| YWZ-400/45 |
400 |
320 |
650 |
130 |
22 |
12 |
925 |
700 |
180 |
180 |
210 |
210 |
490 |
205 |
725 |
| YWZ-400/90 |
400 |
320 |
650 |
130 |
22 |
12 |
945 |
700 |
180 |
180 |
210 |
210 |
610 |
80 |
740 |
| YWZ-500/90 |
500 |
400 |
760 |
150 |
22 |
16 |
1100 |
810 |
200 |
200 |
250 |
240 |
610 |
225 |
885 |
| YWZ-600/90 |
600 |
475 |
950 |
170 |
26 |
18 |
1310 |
1000 |
220 |
240 |
305 |
310 |
843 |
162 |
1110 |
| YWZ-600/180 |
600 |
475 |
950 |
170 |
26 |
18 |
1330 |
1000 |
220 |
240 |
305 |
310 |
843 |
162 |
1225 |
| YWZ-700/180 |
700 |
550 |
1080 |
200 |
34 |
25 |
1662 |
1150 |
270 |
280 |
390 |
380 |
840 |
310 |
1225 |
| YWZ-800/180 |
800 |
600 |
1240 |
140 |
34 |
25 |
1816 |
1334 |
320 |
280 |
390 |
460 |
829 |
526 |
1464 |
| YWZ-800/320 |
800 |
600 |
1240 |
240 |
34 |
25 |
1877 |
1334 |
320 |
320 |
436 |
460 |
887 |
382 |
1390 |
|
|
|
|
|
| |
|